+39 0385 747068

6.200.DD

VALVOLA KZE CON ATTACCHI DIN FEMMINA-DIN FEMMINA

6.200.DD

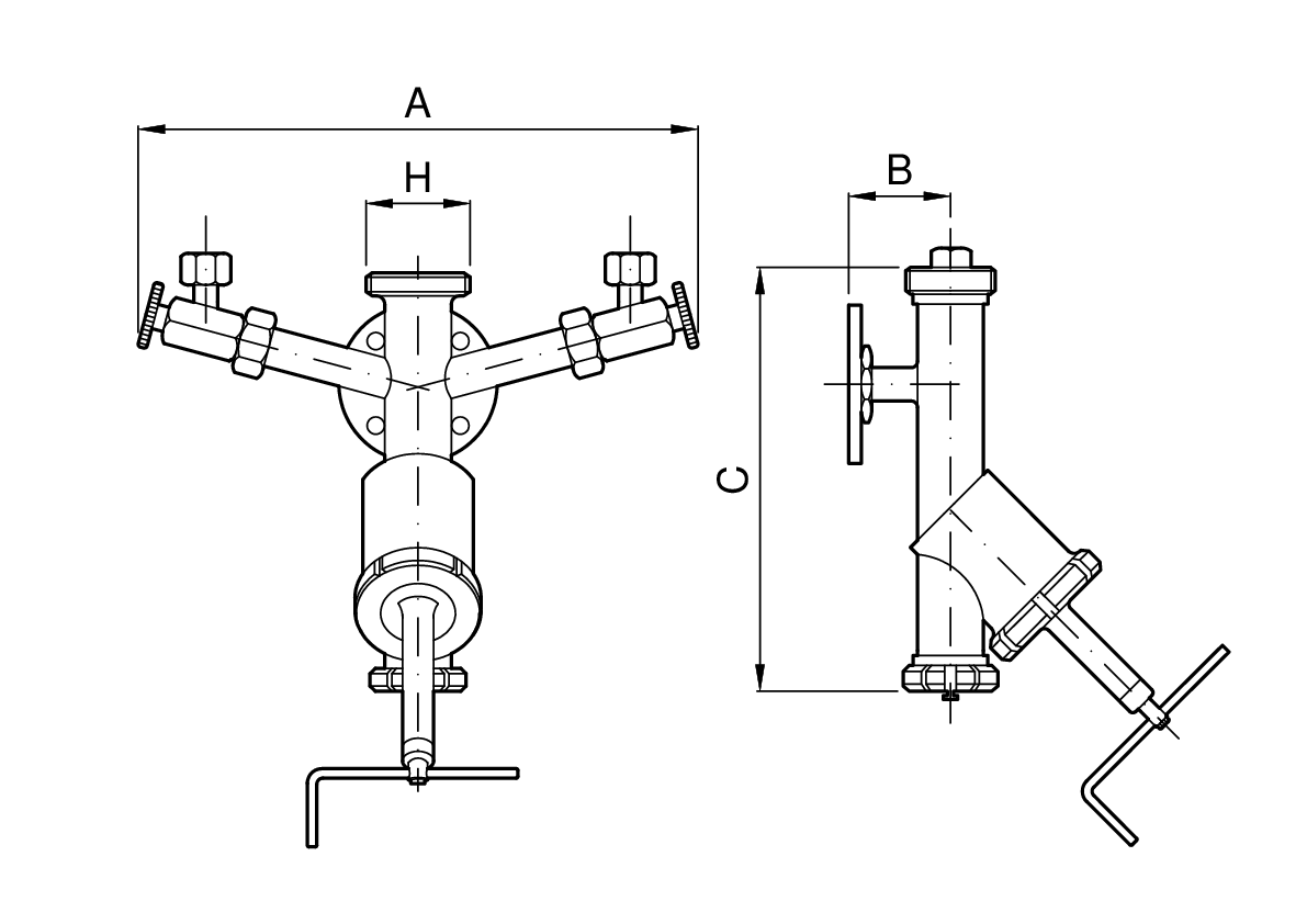
Misure del prodotto

CodiceDN mmH mmA mmB mmC mmKg
6.200.DD.23-A3258 x 1/6360672905,30
6.200.DD.32-A4065 x 1/6360672905,50
6.200.DD.45-A5078 x 1/6